الثلاثاء 16 ديسمبر 2025
facebook
twitter
youtube
instagram
nabd app
opera news hub
rss feed
رئيس التحرير
أحمد ناصف
رئيس التحرير
أحمد ناصف
أخبار
سياسة
حوادث
رياضة
اقتصاد وبورصة
عرب وعالم
مستقبل وطن
القائمة
search
شركة صفحة 25
مياه الشرب بالغربية تدشن حملة لتطبيق نظام الدفع الالكتروني
17/02/2021 02:46 ص
من إنجاز المقاولون العرب.. الرئيس الأوغندي يفتتح مستشفى كايونجا
14/02/2021 08:18 ص
تستخدم لعلاج مصابي كورونا.. إحباط بيع 10 أسطوانات أكسجين بالسوق السوداء
17/02/2021 10:46 ص
بعد ايقافه من جوجل.. 4 معلومات عن تطبيق Parler
16/02/2021 09:01 م
مصر للطيران تسير 70 رحلة دولية لنقل 9056 راكبًا
18/02/2021 04:22 ص
بعد اعتمادها.. 5 مميزات جديدة في تقنية Wi-Fi 6E
16/02/2021 08:17 م
النيابة تأمر بحبس صاحب شركة جمع 30 أسطوانة أكسجين لبيعهم في السوق السوداء
15/02/2021 12:17 م
بعد دعمة لاقتحام الكونجرس.. الفيس بوك وتويتر يعلقان حسابات ترامب
17/02/2021 10:38 ص
رئيس «ماريوت» العالمية: الدولة المصرية لا تدخر جهدا للنهوض بالقطاع السياحي
16/02/2021 03:12 م
رسالة متداولة على «واتس آب» تخترق الأجهزة في لحظات.. احذر منها
14/02/2021 07:48 م
«فيسبوك» تحجب صفحة ترامب لمدة 24 ساعة
17/02/2021 03:20 ص
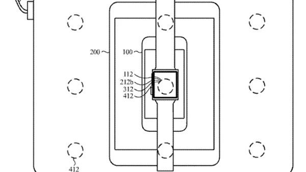
آبل تكشف عن اختراع جديد في تقنية الشحن
16/02/2021 09:00 م
مياه المنيا: استقبال وحل 17 ألف شكوى خلال عام 2020
17/02/2021 10:25 ص
مواصفات وسعر هاتف سامسونج «Galaxy M02s» الجديد
18/02/2021 12:42 ص
«مصر للطيران» تسير اليوم 46 رحلة لنقل 4923 راكبا
16/02/2021 10:46 م
بقدرة 135 وات.. هواوي تطلق إصدار جديد من وحدات الشحن السريع
16/02/2021 11:05 م
«تذكرتي» تعلن حضور 20% للجماهير من سعة استادات مونديال اليد
13/02/2021 07:27 م
إنشاء 300 محطة غاز طبيعي خلال 3 سنوات
10/02/2021 11:40 م
قطاع المياه عن منطقة الزمالك بالكامل 4 ساعات
17/02/2021 05:43 م
«المصرية للاتصالات» توقع اتفاقية مع «جوجل» لتقديم خدمات مؤمنة
17/02/2021 06:09 ص
«مصر للطيران» تسمح بتعديل حجوزات المسافرين إلى السعودية
14/02/2021 04:01 ص
«الملا» يشهد افتتاح أحدث محطة وقود لتموين السيارات بالغاز الطبيعي.. صور
14/02/2021 01:56 ص
غدًا.. قطع المياه عن هذه المناطق بالجيزة
14/02/2021 02:59 ص
لمخاطر تتعلق بالسلامة.. «فورد» تستدعي 1339سيارة لينكولن في الصين
05/02/2021 02:09 ص
ارتفاع مبيعات شركة تسلا للسيارات الكهربائية بنسبة 36%
17/02/2021 10:14 ص
لمنافسة جوجل ومايكروسوفت.. «زووم» تطلق خدمة للبريد الإلكتروني والتقويم
17/02/2021 03:55 م
فيسبوك في رأس السنة.. 55 مليون «لايف» و1.4 مليار مكالمة واتس آب
17/02/2021 03:20 ص
«سامسونج» تحدث واجهة المستخدم لأجهزة «جلاكسي نوت 10»
17/02/2021 06:27 ص
للسيطرة على البث الصوتي.. «أمازون» تستحوذ على «وندري» وتجهز نفسها لمنافسة «سبوتيفاي»
10/02/2021 06:04 ص
ابتداءً من 6 يناير.. مصر للطيران تسير رحلة يوميًا من القاهرة لـ أديس أبابا
17/02/2021 12:34 م
...
19
20
21
22
23
24
25
26
27
28
29
30
ﺗﻔﻀﻴﻼﺕ اﻟﻘﺮاء
الطقس غدا.. أجواء باردة وانخفاض بالحرارة وأمطار والصغرى بالقاهرة 12 درجة
طرق التقديم للإشراف على حج الجمعيات الأهلية 2026
اتحاد الكرة يعلن انتهاء النزاع مع فيتوريا داخل المحكمة الرياضية الدولية
شيخ الأزهر خلال استقباله قاضي قضاة فلسطين: لم ولن ندخر جهدًا في التعريف بحقوق الشعب الفلسطيني المظلوم
دوناروما يتوج بجائزة أفضل حارس في العالم بجوائز ذا بيست
عاجل| غدًا.. انطلاق جولة الإعادة بالمرحلة الثانية لانتخابات مجلس النواب بالداخل
رامي الدمرداش يعلن عدم خوض جولة الإعادة بدائرة المرج ويدعو لدعم المرشح سيد نادي درويش
محافظ بورسعيد: جاهزون لجولة الإعادة بانتخابات مجلس النواب وتوفير مظلات للناخبين لمواجهة الأمطار
الرئيسية
أخبار
سياسة
حوادث
رياضة
مستقبل وطن
فن وثقافة
محافظات
اقتصاد وبورصة
عرب وعالم
صحافة وتلفزيون
فيديو
صور
مقالات
facebook
twitter
youtube
instagram
nabd app
opera news hub
rss feed
البحث
بحث
إلغاء
عاجل
الحكومة: إصدار تشريع خاص لحماية المطورين الجادين ومحاسبة غير الجادين
الأزهر يعزي المغرب في ضحايا فيضانات مدينة آسفي.. ويدعو بالشفاء العاجل للمصابين
اتحاد الكرة يعلن انتهاء النزاع مع فيتوريا داخل المحكمة الرياضية الدولية
طرق التقديم للإشراف على حج الجمعيات الأهلية 2026
شيخ الأزهر خلال استقباله قاضي قضاة فلسطين: لم ولن ندخر جهدًا في التعريف بحقوق الشعب الفلسطيني المظلوم